Процедура роботи з претензіями та скаргами клієнтів компанії TÜV Thüringen Ukraine
Методологічна інструкція «Претензії та скарги»
1. Область застосування
Ця методологічна інструкція діє для всієї групи TÜV Thüringen.
2. Призначення
Призначення цієї методологічної інструкції:
- регулювання процесів отримання, обробки, оцінки й перевірки звернень у рамках групи TÜV Thüringen;
- встановлення відповідальності в рамках обробки скарг і претензій;
- забезпечення розгляду скарг/претензій та рішень щодо них без дискримінуючих дій.
3. Терміни й визначення
| Термін | Визначення |
|---|---|
| Претензія | Претензії та протиріччя із замовником або іншими зацікавленими особами, яких стосуються рішення інспекційних органів, органів з сертифікації та верифікації, лабораторій та інших органів/департаментів групи TÜV Thüringen. |
| Скарга | Вираз невдоволення (наприклад, рекламація) третьою особою, яка стосується не безпосередньо рішень, а пов'язаний з претензіями. Не вважаються скаргами в контексті даної методологічної інструкції претензії щодо діловодства в бухгалтерії (наприклад, неправильні адреси в рахунках тощо). |
| Треті особи | У правовому сенсі це будь-яка фізична чи юридична особа, яка поряд з двома сторонами вступає у правові відносини (наприклад, у договорі) і може брати участь зі своїми власними правами. |
| Відповідальний підрозділ | Підрозділ організації, який відповідає за надання послуги. |
4. Опис процесів і відповідальності
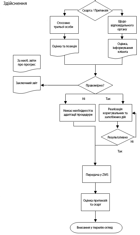
Справжня методологічна інструкція встановлює процедуру отримання претензій та скарг, їх оцінки та прийняття рішень. Здійснені коригувальні й попереджувальні дії та перевірка результативності служать для покращення системи менеджменту.
Особа, залучена до процесу ухвалення рішення, не має бути пов'язана з аудитом, щодо якого спрямована скарга та претензія.
Якщо скарга чи претензія направлена проти третьої фізичної чи юридичної особи, яка має ділові відносини з групою TÜV Thüringen, то ця скарга чи претензія розглядаються в першу чергу. Потім перевіряється, чи це підпадає під відповідальність TÜV Thüringen і, якщо застосовно, замовнику (клієнту) повідомляється позиція про скаргу або претензію. Паралельно відповідальний орган працює із змістом. Заключна оцінка здійснюється відповідальним органом з урахуванням позиції замовника.
Якщо скарга чи претензія направлена на адресу групи TÜV Thüringen, то здійснюється безпосереднє опрацювання відповідальним органом. Замовника інформують залежно від змісту. Подання, розгляд і рішення щодо претензій та скарг не можуть призвести до негативних наслідків для подавця претензії/скарги.
Обов'язки описано в плані процесу.
План процесу (Блок-схема):
| Подавець скарги | TÜV Thüringen | Відповідальність | Примітки |
|---|---|---|---|
![]() |
|
|
|
![]() |
|
|
|
| Оцінка й перевірка результативності |
|
|
|
5. Інші застосовні документи
- Методологічна інструкція «Корекції, попередження, постійне покращення»;
- Бланк FP-C-007 «Анкета для обробки претензій/скарг»;
- Бланк FP C-008 «Лист стосовно претензій/скарг»;
- Методологічна інструкція «Безпека даних»;
- Директива «Інформаційна безпека»;
- Методологічна інструкція «P2plus Рекламації».
6. Програми
Ні

