Процедура по работе с претензиями и жалобами клиентов компании TÜV Thüringen Ukraine
Методологическая инструкция «Претензии и жалобы»
1. Область применения
Настоящая методологическая инструкция действует для всех обществ группы TÜV Thüringen.
2. Назначение
Назначением этой методологической инструкции является:
- регулирование процессов получения, обработки, оценки и проверки обращений в рамках группы TÜV Thüringen;
- установление ответственности в рамках обработки жалоб и претензий;
- обеспечение рассмотрения жалоб/претензий и решений по ним без дискриминирующих действий.
3. Термины и определения
| Термин | Определение |
|---|---|
| Претензия | Претензии и противоречия с заказчиком или другими заинтересованными лицами, которых касаются решения инспекционных органов, органов по сертификации и верификации, лабораторий и других органов/департаментов группы TÜV Thüringen. |
| Жалоба | Выражение недовольства (например, рекламация) третьим лицом, которое касается не непосредственно решений, а связано с претензиями. Не являются жалобами в контексте данной методологической инструкции претензии по делопроизводству в бухгалтерии (например, неправильные адреса в счетах и тд.). |
| Третьи лица | В правовом смысле это любое физическое или юридическое лицо, которое наряду с двумя сторонами вступает в правовые отношения (например, в договоре) и может участвовать со своими собственными правами. |
| Ответственное подразделение | Подразделение организации, которое ответственно за оказание услуги. |
4. Описание процессов и ответственности
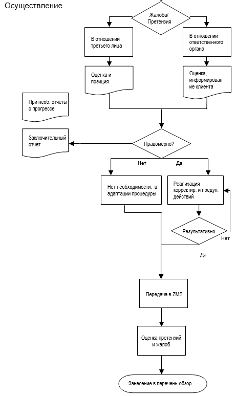
Настоящая методологическая инструкция устанавливает процедуру получения претензий и жалоб, их оценки и принятия решений. Осуществленные корректирующие и предупреждающие действия и проверка результативности служат для улучшения системы менеджмента.
Лицо, вовлеченное в процесс принятия решения, должно быть не связано с аудитом, в отношении которого направлена жалоба и претензия.
Если жалоба или претензия направлены против третьего физического или юридического лица, у которого есть деловые отношения с группой TÜV Thüringen, то эта жалоба или претензия рассматриваются в первую очередь. Затем проверяется, подпадает ли это под ответственность TÜV Thüringen и, если применимо, заказчику (клиенту) сообщается позиция о жалобе или претензии. Параллельно ответственный орган работает с содержанием. Заключительная оценка осуществляется ответственным органом с учетом позиции заказчика.
Если жалоба или претензия направлена в адрес группы TÜV Thüringen, то осуществляется непосредственная обработка ответственным органом. Заказчик информируется в зависимости от содержания. Подача, рассмотрение и решение касательно претензий и жалоб не могут привести к негативным последствиям для подателя претензии/жалобы.
Обязанности описаны в плане процесса.
План процесса (Блок-схема):
| Податель жалобы | TÜV Thüringen | Ответственность | Примечания |
|---|---|---|---|
![]() |
|
|
|
![]() |
|
|
|
| Оценка и проверка результативности |
|
|
|
5. Прочие применимые документы
- Методологическая инструкция «Коррекции, предупреждение, постоянное улучшение»;
- Бланк FP-C-007 «Анкета для обработки претензий/жалоб»;
- Бланк FP C-008 «Письмо по претензиям/жалобам»;
- Методологическая инструкция «Безопасность данных»;
- Директива «Информационная безопасность»;
- Методологическая инструкция «P2plus Рекламации».
6. Приложения
Нет

